SCPK衛生離心泵(醫藥專用)
銷售熱線:021-66525777 63099652
產品分類:衛生泵
口徑(進口/出口):50-65/32-50(mm)
流量:3T-180T
正奧泵業優勢:知名度高,品質可靠,服務完善 現貨供應
各種材質、非常規產品皆可訂做
- 產品概述
- 選型參數
- 應用領域
產品簡介
電機:
- 醫藥衛生泵、醫藥專用不銹鋼衛生泵根據配置主要采用“ABB”品牌的三相交流電機,按照國際電工委員會IEC60034.IEC60072標準設計制作,符合歐共體“CE”標記要求。
- 可供選用防爆電機,以滿足不同場合的需要。
- 優越的電氣性能、低噪音、低震動,電機的標準設計防護等級為IP55,絕緣等級為F級。
-
工作電壓:
- ≤3Kw,220-240V/380-420V,△/Y
- >3Kw,380-420V/660-690V, △/Y
- 頻率:50Hz/60Hz
- 工作方式:連續(SI)
- 轉速:標準泵的轉速為2900r/min
選型說明:
- 流量:選用性能曲線表中中間段為宜。
- 工作溫度:-20-100℃(最高滅菌溫度133℃)。
- 工作環境與介質:確定是否需要防爆。
- 工作條件:衛生離`b泵屬高低液位幾水平輸送,
- 非自吸型。 (自吸型選用自吸泵)
- 泵體材質:根據介質要求316L與304選擇。
- 密封材料:標準橡膠密封圈為硅橡膠,根據介
- 質選擇氟橡膠,三元乙丙,聚四氟,丁晴。
設計:
葉輪與軸套是一體精密鑄造,直接裝電機輸出軸上,強度、剛度大,·設計獨特,安裝簡便,精度高保證同心度,解決了振動,提高泵的強度,即使在惡劣的操作條件下,它始終保持對中、振動小;密封的壽命最長。
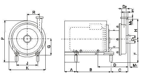
選型范圍
- 藥品:輸液、蒸餾水、高純水、含顆粒(3-6毫米)的中藥液體、浸出液。化妝品:染料、酒精、香精油。
- 飲料:酒精、白酒、啤酒、麥芽汁、發酵液、果汁飲料、帶顆粒飲料。
- 乳品:乳清、奶油、牛奶、糖液
- 其他:糖果業、焙烤業、化工領域等。
性能參數本數據僅供參考,請以實際訂貨為準!
- 規 格:3T-180T, 0.55KW-75KW
- 材 質:SUS304 SUS316L (在材料的選用上泵體、泵蓋、葉輪等凡與物料接觸之零件由SUS316L或SUSI304不銹鋼制造)
- 標 準:DIN、 SMS
- 葉 輪:敞開式葉輪,不留衛生死角
- 工作條件:衛生離心泵屬高低液位幾水平輸送,非自吸型。(自吸型選用自吸泵)
- 表面處理:接液部分拋光,其余亞光或噴砂處理。
- 最大進口壓力:0.5MPa
- 溫度范圍:-10°C至+140°C(EPDM)
-
可沖洗機械密封:
- 水壓:最高0.1MPa
- 水量:0.25-0.5L/min
- 上一個產品: CHL,CHLK輕型不銹鋼多級泵
- 下一個產品: CHLF,CHLF(T)輕型段式不銹鋼多級泵
















